
KHBF、KHMF法兰式高压球阀@德国NOOK诺克适用于液压系统和化工系统的各种管路上做为启闭用。开关迅速、方便,流体阻力小,是所有阀类中流体阻力最小的一种只要阀杆转动90°,球阀就完成了全开或全关动作,很容易实现快速启闭。阀杆密封可靠。球阀启闭时阀杆只作旋转运动,因此阀杆的填料密封不易被破坏,而且阀杆倒密封的密封力随着介质压力的增加而增大。适用介质:液压油、水一乙二醇、其它混合液体。
KHBF、KHMF法兰式高压球阀是我公司引进德国先进技术工艺,主要用于液压管路中控制油液的流通和截止,本型球阀具有流阻损失小,密封性能可靠,操作方便,外观精美等特点。
 
 
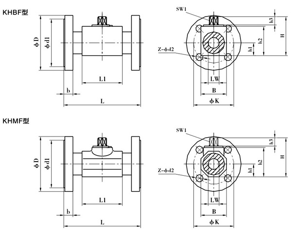
① 系列代号:KHBF(KHMF)系列法兰式高压球阀
② 公称通径:16、20、25、32、40、50mm
③ 压力范围:40、63、100、160、250、315bar
④ 阀体材料:1-钢
⑤ 球体材料:1-钢
⑥ 工作温度:1、-25~+100℃、2、-30~+170℃
⑦ 其他密封:2-丁晴橡胶
⑧ 手柄形式:02-铝质直柄06-钢质曲柄09-不带手柄
⑨ 设计序号:由生产商定
 
| 略型号 | 压力范围 | DN | LW | L | L1 | D | d1 | d2 | K | B | b | H | h1 | h2 | h3 | SW1 | Z | 
| KHBF-016 | 10-40 | 16 | 15 | 130 | 48 | 95 | 45 | 14 | 65 | 38 | 16 | 62 | 19 | 45 | 11 | 9 | 4 | 
| KHBF-016 | 63-160 | 105 | 14 | 75 | 20 | ||||||||||||
| KHBF-016 | 250-315 | 130 | 18 | 90 | 26 | ||||||||||||
| KHBF-020 | 10-40 | 20 | 20 | 150 | 60 | 105 | 58 | 14 | 75 | 48 | 18 | 75 | 25 | 57 | 11 | 12 | 4 | 
| KHBF-025 | 10-40 | 25 | 25 | 160 | 65 | 115 | 68 | 14 | 85 | 57 | 18 | 82 | 28.5 | 64 | 11 | 12 | 4 | 
| KHBF-025 | 63-160 | 140 | 18 | 100 | 24 | ||||||||||||
| KHBF-025 | 250 | 150 | 22 | 105 | 28 | ||||||||||||
| KHBF-025 | 315 | 160 | 22 | 115 | 34 | 
| 简略型号 | 压力范围 | DN | LW | L | L1 | D | d1 | d2 | k | B | b | H | h1 | h2 | h3 | SW1 | Z | 
| KHMF-032 | 10-40 | 32 | 30 | 180 | 84 | 140 | 78 | 18 | 100 | 75 | 18 | 103 | 37.5 | 84 | 12 | 14 | 4 | 
| KHMF-032 | 63-160 | 155 | 22 | 110 | 26 | ||||||||||||
| KHMF-040 | 10-40 | 40 | 38 | 200 | 91 | 150 | 88 | 18 | 110 | 85 | 18 | 114 | 42.5 | 95 | 12 | 14 | 4 | 
| KHMF-040 | 63-160 | 170 | 22 | 125 | 28 | ||||||||||||
| KHMF-040 | 250 | 185 | 26 | 135 | 34 | ||||||||||||
| KHMF-040 | 315 | 195 | 26 | 145 | 38 | ||||||||||||
| KHMF-050 | 10-40 | 50 | 48 | 230 | 100 | 165 | 102 | 18 | 125 | 105 | 20 | 131.5 | 52.5 | 112.5 | 12 | 14 | 4 | 
| KHMF-050 | 63 | 180 | 22 | 135 | 26 | ||||||||||||
| KHMF-050 | 100-160 | 195 | 26 | 145 | 30 | ||||||||||||
| KHMF-050 | 250 | 200 | 26 | 150 | 38 | 8 | |||||||||||
| KHMF-050 | 315 | 210 | 26 | 160 | 42 | 
| 简略型号 | 压力范围 | DN | LW | L | L1 | D | d1 | d2 | k | B | b | H | h1 | h2 | h3 | SW1 | Z | 
| KHMF-032 | 10-40 | 32 | 30 | 130 | 84 | 140 | 78 | 18 | 100 | 75 | 18 | 103 | 37.5 | 84 | 12 | 17 | 4 | 
| KHMF-040 | 40 | 38 | 140 | 91 | 150 | 88 | 110 | 85 | 18 | 114 | 42.5 | 95 | |||||
| KHMF-050 | 50 | 48 | 150 | 100 | 165 | 102 | 125 | 105 | 20 | 131.5 | 52.5 | 112.5 |