
ZHQ-1砾石阻火器@德国NOOK诺克内部的固体材质为砾石,通过砾石之间的细小间隙和孔隙把进入阻火器的火焰分流成许多细小的火焰而被熄灭,主要的原理还是器壁效应和传热效应。防止外部火焰窜入存有易燃易爆气体的设备和管道内,防止发生火焰在设备管道间蔓延。
ZHQ-1砾石阻火器也是管道阻火器的一种,它的作用原理是防止外部火焰窜入存有易燃易爆气体的设备和管道内,防止发生火焰在设备管道间蔓延的迹象。通过阻火网实现阻火功能,确保管道设备安全运营。
1、输送可燃性气体的管道上。
2、火炬系统。
3、油气回收系统。
4、加热炉燃料气的管网上。
5、气体净化通化系统。
6、气体分析系统。
7、煤矿瓦斯排放系统。
1、阻火器连续13次以亚音速火焰试验,每次都能阻止火焰的通过。
2、水压试验2.4MPa无渗漏。
| 壳体材质 | CS 304 316 316L | 阻火层材质 | 若干大小不等的砾石 | 
| 螺帽螺栓 | CS 304 316 316L | 密封垫片 | 石墨垫片 金属垫片 聚四氟乙烯 | 
| 防爆等级 | BS 5501:IIA IIB IIC | 环境温度 | CS:-30℃~+350℃ SS:-80℃~+350℃  | 
| 连接方式 | 法兰连接 螺纹连接 | 法兰标准 d | JB GB HG ANSI SH JIS | 
| 设计制造检测标准 | GB5908-86 GB/T13347-1992 | 外表处理 | CS: paint SS:NO Paint | 
 
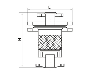
| 口径DN | 英寸 | 宽度L/mm | 高度H/mm | 
| 40 | 1-1/2" | 170 | 320 | 
| 50 | 2" | 190 | 340 | 
| 80 | 3" | 220 | 380 | 
| 100 | 4" | 240 | 410 | 
| 125 | 5" | 280 | 450 | 
| 150 | 6" | 325 | 500 | 
| 200 | 8" | 380 | 560 | 
| 250 | 10" | 450 | 640 | 
1、砾石阻火器根据阀体上的箭头标记方向安装在管道上,安装前取下法兰保护盖;定期检查一下阻火器内部的砾石,如有被腐蚀需要及时添加或更换砾石;
2、砾石阻火器安装的管道必须是清洁的,不能有杂质,污垢等东西堵塞住阻火芯件的间隙,影响阻火器正常使用。
3为了保证砾石阻火器的阻火效果,每隔半年应检查一次。检查阻火层是否有堵塞、变形或腐蚀等缺陷。被堵塞的阻火层应清洗干净,保证每个孔眼畅通,对于变形或腐蚀的阻火层应更换。
4、清洗砾石阻火器阻火芯件时,应采用高压蒸汽、非腐蚀性溶剂或压缩空气吹扫,不得采用锋利的硬件刷洗。
5、重新安装砾石阻火器时,应更新垫片并确认密封面已清洁和无损伤,不得漏气。